腾讯申请注册QQ小店商标,国际分类涉及通讯服务等
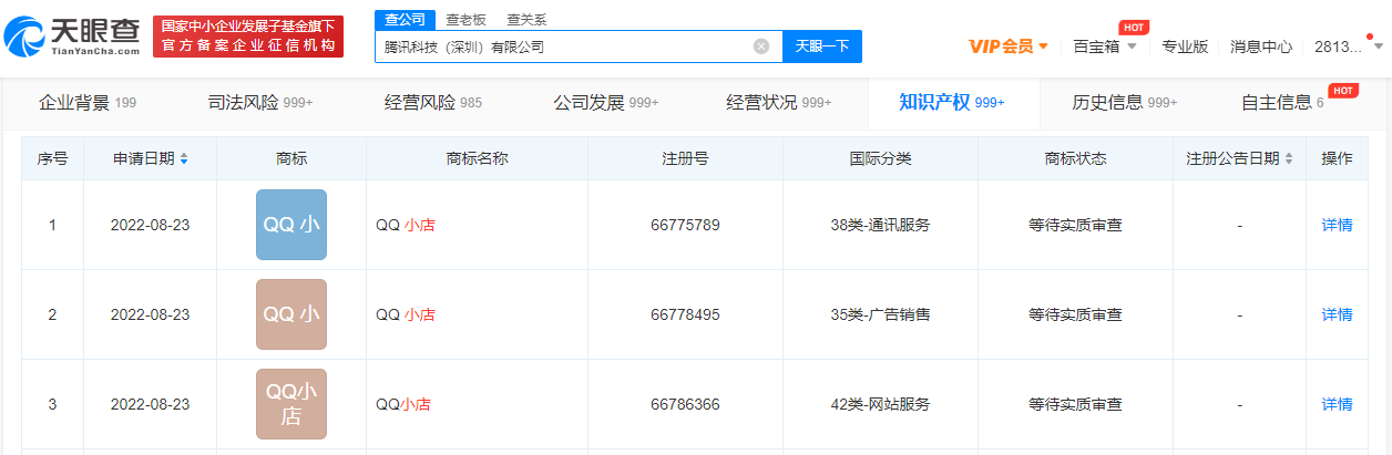
鞭牛士 9月13日消息,天眼查App显示,近日,腾讯科技(深圳)有限公司申请注册多个“QQ小店”商标,国际分类涉及广告销售、通讯服务等,当前商标状态均为等待实质审查。



扫码下载app 最新资讯实时掌握
鞭牛士 9月13日消息,天眼查App显示,近日,腾讯科技(深圳)有限公司申请注册多个“QQ小店”商标,国际分类涉及广告销售、通讯服务等,当前商标状态均为等待实质审查。



扫码下载app 最新资讯实时掌握