安慕希注册安慕东商标
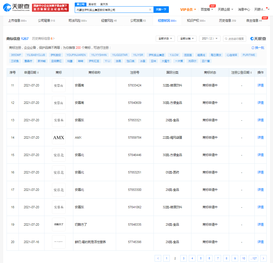
鞭牛士 7月27日消息,天眼查App显示,近日,安慕希关联公司内蒙古伊利实业集团股份有限公司申请注册多个“安慕东”“安慕北”“安慕南”商标,国际分类涉及啤酒饮料、食品、医药等,当前此类商标状态为申请中。

扫码下载app 最新资讯实时掌握
鞭牛士 7月27日消息,天眼查App显示,近日,安慕希关联公司内蒙古伊利实业集团股份有限公司申请注册多个“安慕东”“安慕北”“安慕南”商标,国际分类涉及啤酒饮料、食品、医药等,当前此类商标状态为申请中。

扫码下载app 最新资讯实时掌握