华为注册好望严选商标
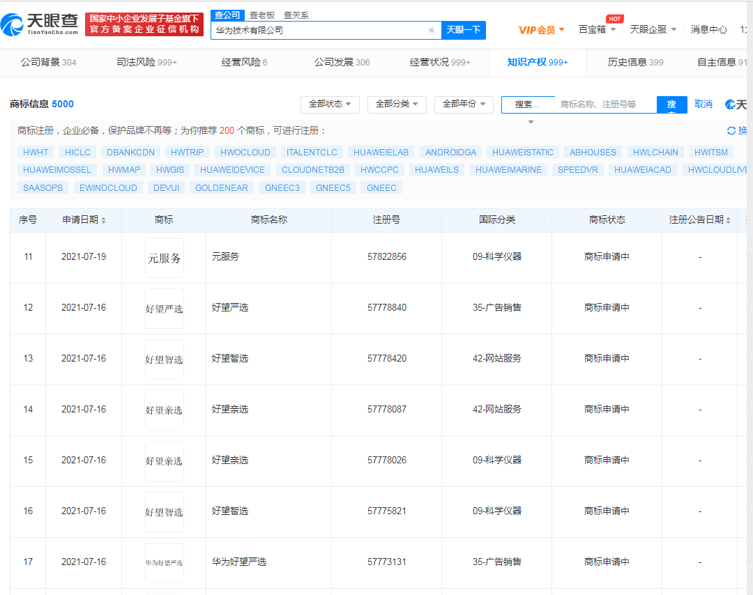
鞭牛士 7月26日消息,天眼查App显示,近日,华为技术有限公司申请注册“好望严选”“好望亲选”“好望智选”等多个商标,国际分类涉及广告销售、网站服务、科学仪器等,当前商标状态为“商标申请中”。

扫码下载app 最新资讯实时掌握
鞭牛士 7月26日消息,天眼查App显示,近日,华为技术有限公司申请注册“好望严选”“好望亲选”“好望智选”等多个商标,国际分类涉及广告销售、网站服务、科学仪器等,当前商标状态为“商标申请中”。

扫码下载app 最新资讯实时掌握