腾讯注册“微信支付”相关猫形图案商标
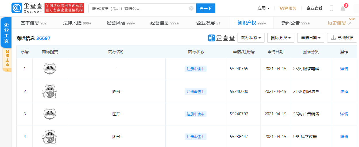
鞭牛士 4月21日消息,近日,腾讯科技(深圳)有限公司申请注册多个“微信支付”相关猫形图案商标,申请日期2021年4月15日,国际分类涉25类服装鞋帽、21类厨房洁具等,商标状态为“注册申请中”。


扫码下载app 最新资讯实时掌握
鞭牛士 4月21日消息,近日,腾讯科技(深圳)有限公司申请注册多个“微信支付”相关猫形图案商标,申请日期2021年4月15日,国际分类涉25类服装鞋帽、21类厨房洁具等,商标状态为“注册申请中”。


扫码下载app 最新资讯实时掌握