哈啰出行关联公司申请注册“哈啰轻酒店”“哈啰公寓”等商标
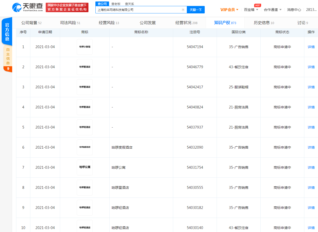
鞭牛士 3月10日消息,近日,哈啰出行关联公司上海钧丰网络科技有限公司申请注册“哈啰轻酒店”、“哈啰公寓”、“哈啰客栈”、“哈啰小旅馆”等相关商标,申请日为2021年3月4日,国际分类为广告销售、餐饮住宿等,当前商标状态为“商标申请中”。


扫码下载app 最新资讯实时掌握
鞭牛士 3月10日消息,近日,哈啰出行关联公司上海钧丰网络科技有限公司申请注册“哈啰轻酒店”、“哈啰公寓”、“哈啰客栈”、“哈啰小旅馆”等相关商标,申请日为2021年3月4日,国际分类为广告销售、餐饮住宿等,当前商标状态为“商标申请中”。


扫码下载app 最新资讯实时掌握