腾讯注册狗头商标
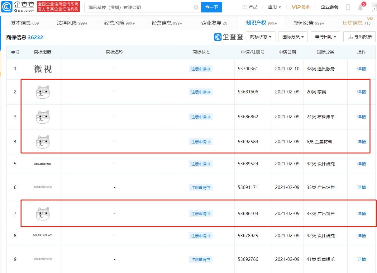
鞭牛士 2月20日消息,企查查App显示,近日腾讯科技(深圳)有限公司申请注册“狗头”图形商标,国际分类为金属材料、广告销售等,商标状态均为“注册申请中”。

扫码下载app 最新资讯实时掌握
鞭牛士 2月20日消息,企查查App显示,近日腾讯科技(深圳)有限公司申请注册“狗头”图形商标,国际分类为金属材料、广告销售等,商标状态均为“注册申请中”。

扫码下载app 最新资讯实时掌握