水滴筹关联公司申请注册“石穿”、“水滴石穿”商标
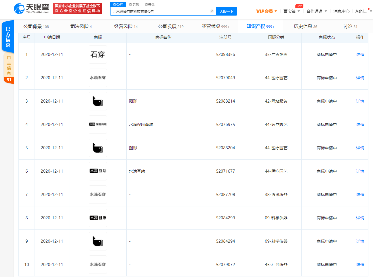
鞭牛士BiaNews消息:天眼查App显示,近日,水滴筹关联公司北京纵情向前科技有限公司申请多个“石穿”、“水滴石穿”的商标。商标国际分类涉及广告销售、医疗园艺、通讯服务等。申请日期均在2020年12月11日,商标状态均显示为“商标申请中”。

扫码下载app 最新资讯实时掌握
鞭牛士BiaNews消息:天眼查App显示,近日,水滴筹关联公司北京纵情向前科技有限公司申请多个“石穿”、“水滴石穿”的商标。商标国际分类涉及广告销售、医疗园艺、通讯服务等。申请日期均在2020年12月11日,商标状态均显示为“商标申请中”。

扫码下载app 最新资讯实时掌握