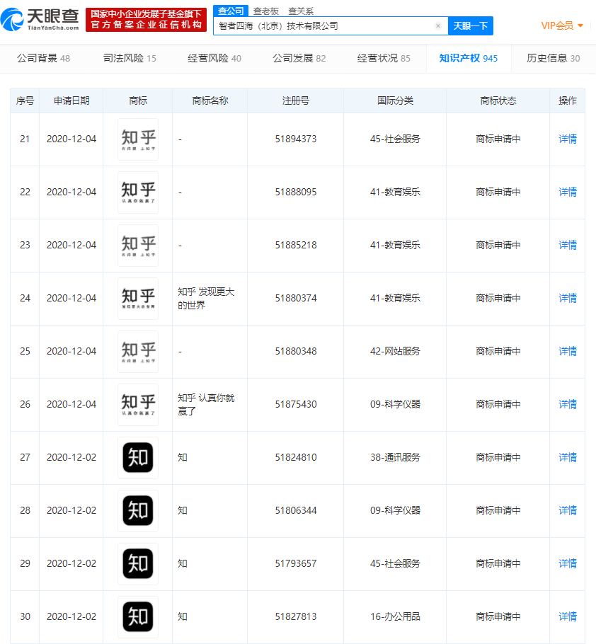
知乎关联公司申请“认真你就赢了”“有问题 就会有答案”商标
鞭牛士BiaNews消息:近日,知乎关联公司智者四海(北京)技术有限公司新增多条“知乎 认真你就赢了”、“知乎 有问题 上知乎”、“知乎 发现更大的世界”、“知乎 有问题 就会有答案”商标,申请日期为12月4日,分类涉及金融物管、通讯服务、教育娱乐等,商标状态均为“商标申请中”。

扫码下载app 最新资讯实时掌握
