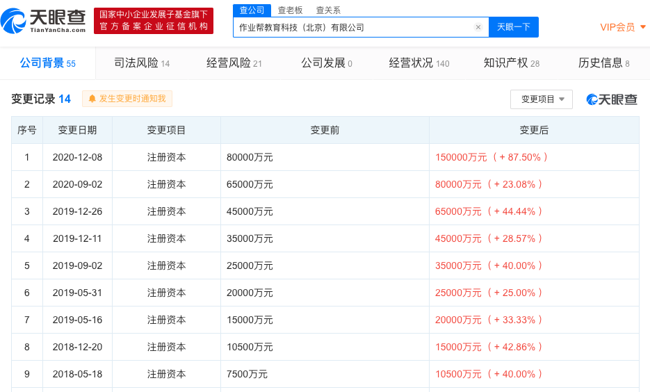
作业帮注册资本增至15亿美元,增幅为87.50%
鞭牛士BiaNews消息:近日,作业帮教育科技(北京)有限公司发生工商变更,注册资本从8亿美元变更为15亿美元,增幅为87.50%。
作业帮教育科技(北京)有限公司 成立于2015年9月11日,注册资本为15亿美元,法定代表人为侯建彬,经营范围包含教育软件的技术开发、技术咨询、技术转让、技术服务;教育信息咨询等。
该公司自18年起,注册资本多次增加。

扫码下载app 最新资讯实时掌握
