华为新增两件 “仓颉语言”商标
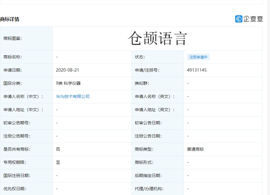
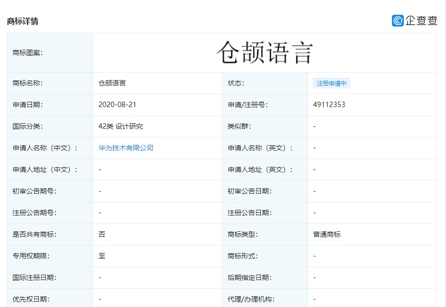
鞭牛士 9月14日消息,据企查查 APP 显示,8 月 21 日,华为技术有限公司新申请两件 “仓颉语言”商标。上述商标状态为:商标申请中,国际分类为第 9 类及第 42 类,其中第 9 类中包含计算机及手机相关的软件程序商品,第 42 类则包含计算机编程服务等。



昨天报道,博主 @长安数码君 爆料,从华为内部得知,华为正在自研编程语言,名为仓颉,并且该项目已经进行了很久,预计明年会向外公布具体细节。还有消息称,华为正在研发新的自主编程语言仓颉,领头人是南京大学的计算机科学与技术系博士生导师——冯新宇,其曾获得 2019PLDI 最佳论文奖。
扫码下载app 最新资讯实时掌握
