腾讯申请多个有关“拍一拍”的商标
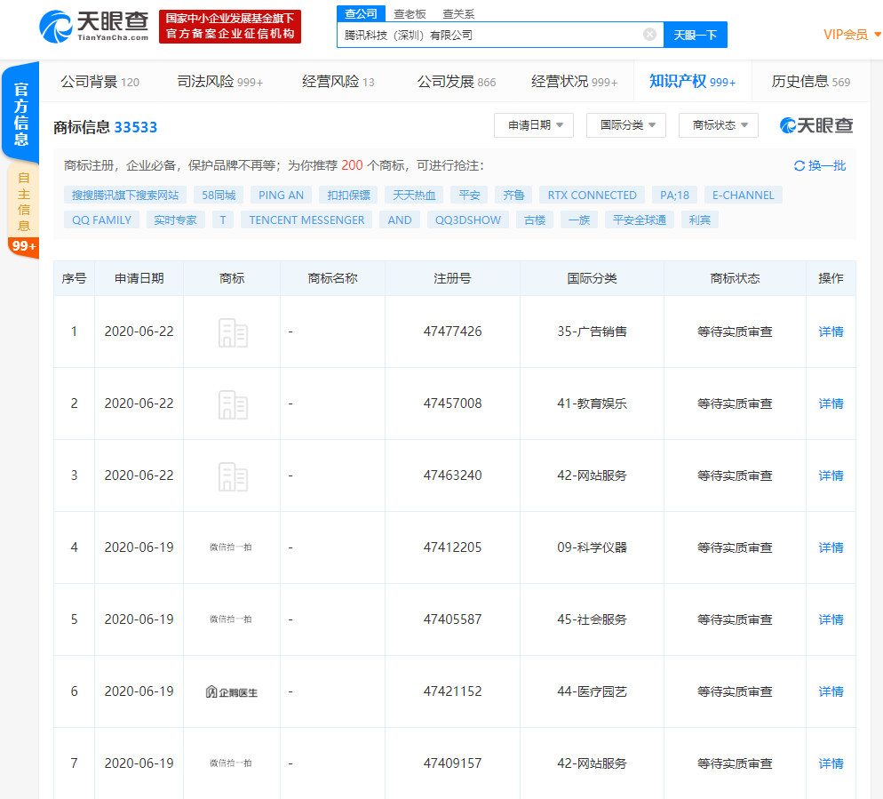
鞭牛士 7月14日消息,天眼查数据显示,近日,腾讯科技(深圳)有限公司新增多条商标信息,包括“拍一拍”、“拍了拍”、“微信拍一拍”等。目前商标状态均显示为“等待实质审查”。

扫码下载app 最新资讯实时掌握
鞭牛士 7月14日消息,天眼查数据显示,近日,腾讯科技(深圳)有限公司新增多条商标信息,包括“拍一拍”、“拍了拍”、“微信拍一拍”等。目前商标状态均显示为“等待实质审查”。

扫码下载app 最新资讯实时掌握