罗永浩所在公司注册“老罗严选”商标 此前淘宝店已上线
鞭牛士 6月12日消息,日前有网友发现,淘宝上出现了一家名为“交个朋友专属店”的淘宝店铺。
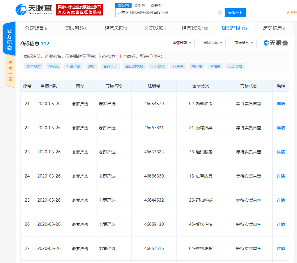
据天眼查数据显示,近日,北京交个朋友数码科技有限公司申请注册了多个“老罗严选”商标,国际分类涵盖了方便食品、酒、珠宝钟表、日化用品、医疗园艺、服装鞋帽等,目前状态均为等待实质审查。

6月10日,“交个朋友专属店”的淘宝店铺上线。经查,该店铺属于成都天生骄傲科技有限公司,开设时间为5月28日。成都天生骄傲科技有限公司和“交个朋友”以及罗永浩此前的锤子科技都有密切联系。


经发现,该店铺售卖的多款产品都曾经在罗永浩的带货直播中出现,例如vvild锤标T恤、每日黑巧、信良记等。

扫码下载app 最新资讯实时掌握
