百度入股东软医疗,认缴出资额超2000万
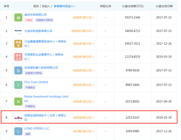
Bianews 3月20日消息,企查查数据显示,近日,沈阳东软医疗系统有限公司发生一系列工商变更,新增股东中包括百度在线网络技术(北京)有限公司,百度认缴出资额为2252.0143万元。

信息显示,沈阳东软医疗系统有限公司经营范围也新增了车载医疗设备、汽车销售等业务。东软医疗成立于1998年,注册资本22.35亿元,法定代表人为东软集团董事长刘积仁。
扫码下载app 最新资讯实时掌握
