字节跳动注册“抖音朋友”商标,或将推出社交软件
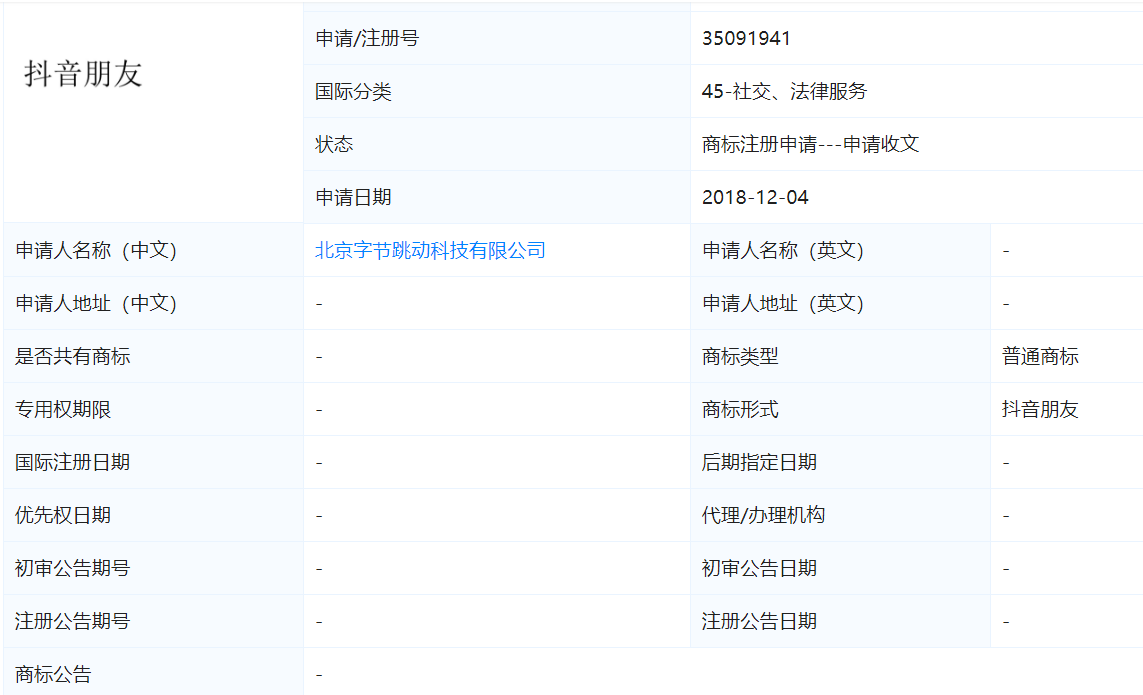
Bianews 12月27日消息,天眼查信息显示,北京字节跳动科技有限公司即“今日头条”母公司于12月4日提交了一份名为“抖音朋友”的商标申请。
天眼查显示,“抖音朋友”商标为北京字节跳动科技有限公司所申请,商标类型为社交、法律服务类;目前处于“申请收文”状态。

据三言财经推测,该商标可能被用于推出社交软件。日前,字节跳动的招聘信息上出现了“社交产品经理”的招聘信息。
扫码下载app 最新资讯实时掌握
