腾讯注册牛马鸡相关商标
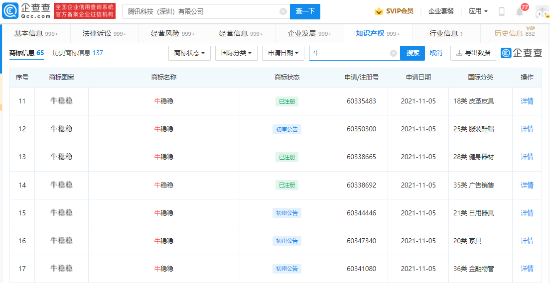
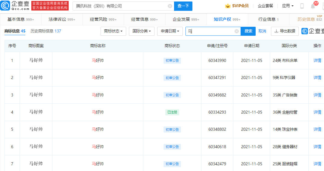
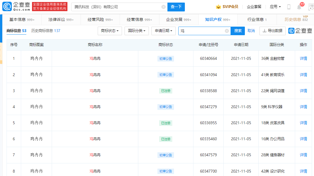
鞭牛士 5月20日消息,企查查APP显示,腾讯科技(深圳)有限公司申请注册多个“马好帅”“牛稳稳”“鸡冉冉”商标。其中部分商标状态为已注册。商标分类包括皮革皮具、健身器材、绳网袋篷等。



扫码下载app 最新资讯实时掌握
鞭牛士 5月20日消息,企查查APP显示,腾讯科技(深圳)有限公司申请注册多个“马好帅”“牛稳稳”“鸡冉冉”商标。其中部分商标状态为已注册。商标分类包括皮革皮具、健身器材、绳网袋篷等。



扫码下载app 最新资讯实时掌握