“老罗和他的朋友们”商标注册成功
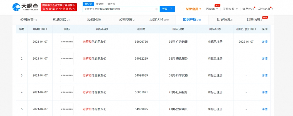
鞭牛士 4月6日消息,据天眼查显示,近期,北京交个朋友数码科技有限公司申请注册的“老罗和他的朋友们”商标状态变更为“已注册”,国际分类包括通讯服务、广告销售、科学仪器等,商标均申请于2021年4月。


扫码下载app 最新资讯实时掌握
鞭牛士 4月6日消息,据天眼查显示,近期,北京交个朋友数码科技有限公司申请注册的“老罗和他的朋友们”商标状态变更为“已注册”,国际分类包括通讯服务、广告销售、科学仪器等,商标均申请于2021年4月。


扫码下载app 最新资讯实时掌握