乐乐茶申请注册砂糖橘墩墩商标
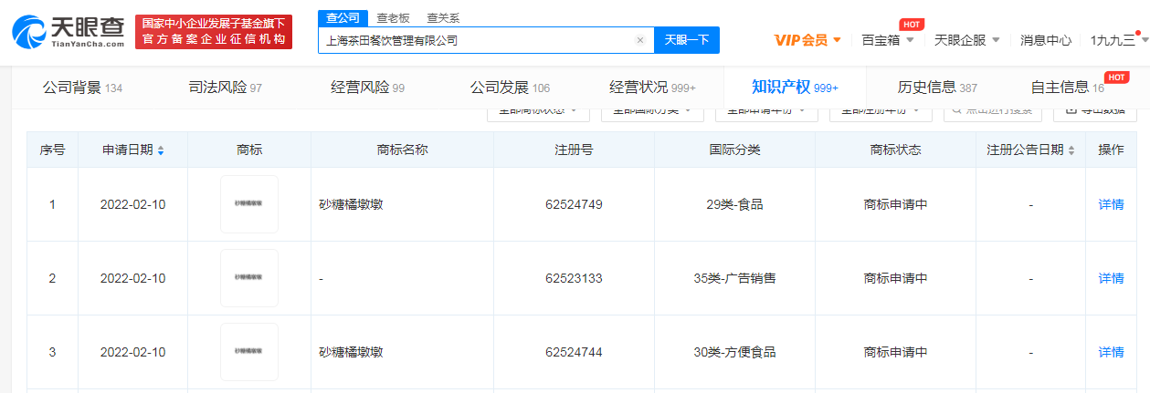
鞭牛士 2月15日消息,近日,茶饮品牌“乐乐茶”关联公司上海茶田餐饮管理有限公司,申请注册多个“砂糖橘墩墩”商标,国际分类包括方便食品、广告销售等,当前商标状态为申请中。
据悉,近期,冬奥会吉祥物冰墩墩出现“一墩难求”的现象,许多网友纷纷晒出用砂糖橘自制的“橘墩墩”。


扫码下载app 最新资讯实时掌握
鞭牛士 2月15日消息,近日,茶饮品牌“乐乐茶”关联公司上海茶田餐饮管理有限公司,申请注册多个“砂糖橘墩墩”商标,国际分类包括方便食品、广告销售等,当前商标状态为申请中。
据悉,近期,冬奥会吉祥物冰墩墩出现“一墩难求”的现象,许多网友纷纷晒出用砂糖橘自制的“橘墩墩”。


扫码下载app 最新资讯实时掌握