叫了个炸鸡厕所池里泡冻鸡,涉事品牌已申请注册近300枚商标
鞭牛士 1月21日消息,四川省眉山市市场监督管理局对当地一家名为“叫了个炸鸡”的外卖店开展突击检查。在店内,执法人员发现多处违规乱象,现场视频显示,该店主要在两家主流外卖平台进行接单,但其在平台的“食品安全档案”中仅上传了营业执照,并未上传食品经营许可证。
执法人员发现,该店部分食品原材料包装上的保质期明显被涂抹,还有部分已过期。此外,该店还存在用垃圾袋装食品、用生锈的剪刀剪鸡腿、生肉不覆膜放冰柜、在厕所蹲坑旁给袋装鸡解冻等多项违规行为。
对此,“叫了个炸鸡”总部上海台享餐饮管理有限公司回应,该被查处的店面,是盗用商标的侵权门店。
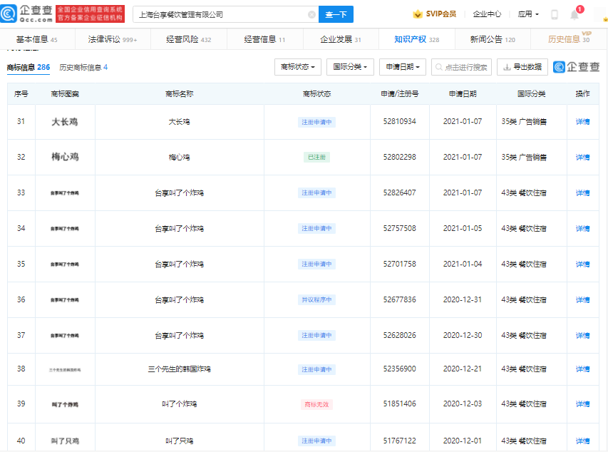
企查查APP显示,上海台享餐饮管理有限公司成立于2013年11月,注册资本50万元人民币,由上海宏才投资管理有限公司全资持股。该公司目前共申请注册286枚商标,包含“叫了只鸡”、“三个先生的韩国炸鸡”。企查查APP显示,2021年4月,该公司因未注册商标使用了《商标法》规定商标不得使用的标志,被罚5千元。



扫码下载app 最新资讯实时掌握
