小红书成功注册老红书商标
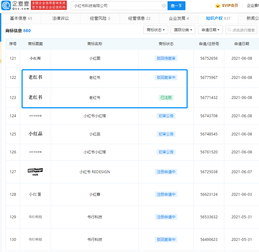
鞭牛士 1月14日消息,企查查App显示,近日,小红书科技有限公司申请注册的“老红书”商标成功注册,商标国际分类涉通讯服务,注册公告日期为2022年1月7日。
此前,企查查显示,小红书公司申请的科学仪器老红书商标被驳回。


扫码下载app 最新资讯实时掌握
鞭牛士 1月14日消息,企查查App显示,近日,小红书科技有限公司申请注册的“老红书”商标成功注册,商标国际分类涉通讯服务,注册公告日期为2022年1月7日。
此前,企查查显示,小红书公司申请的科学仪器老红书商标被驳回。


扫码下载app 最新资讯实时掌握