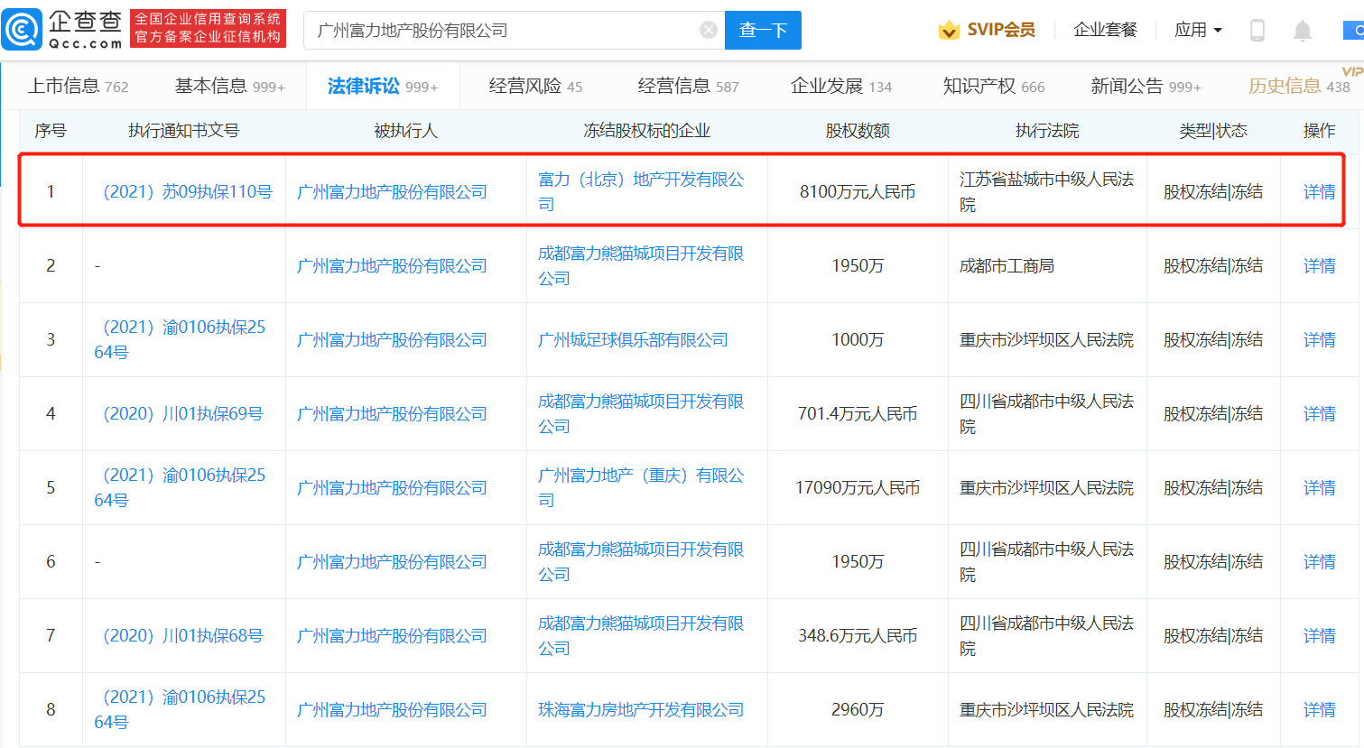
富力地产再被冻结股权8100万元,此前已被冻结股权超1.7亿元
鞭牛士 1月6日消息,企查查APP显示,近日,广州富力地产股份有限公司新增股权冻结信息,冻结股权标的企业为富力(北京)地产开发有限公司,冻结权益数额8100万元人民币,执行法院为江苏省盐城市中级人民法院。
企查查信息显示,此前,富力地产已被冻结股权超1.7亿元。2017年,富力曾介入万达融创收购交易,斥资200亿接手万达77家酒店。

扫码下载app 最新资讯实时掌握
