海底捞申请注册嗨啤鸭商标
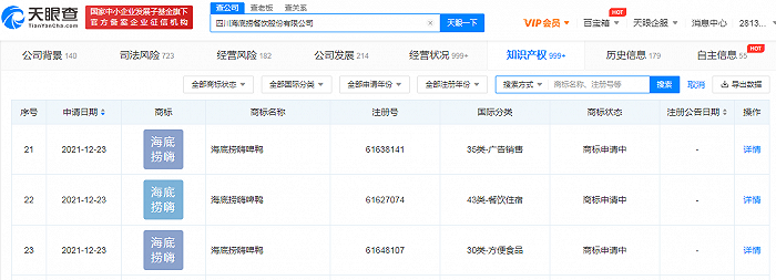
鞭牛士 1月4日消息,天眼查App显示,2021年12月23日,四川海底捞餐饮股份有限公司申请注册多个“海底捞嗨啤鸭”商标,国际分类含食品、啤酒饮料、广告销售等,当前商标状态均为申请中。

扫码下载app 最新资讯实时掌握
鞭牛士 1月4日消息,天眼查App显示,2021年12月23日,四川海底捞餐饮股份有限公司申请注册多个“海底捞嗨啤鸭”商标,国际分类含食品、啤酒饮料、广告销售等,当前商标状态均为申请中。

扫码下载app 最新资讯实时掌握