小米入股一手机摄像头部件研发商,后者股东含华为哈勃
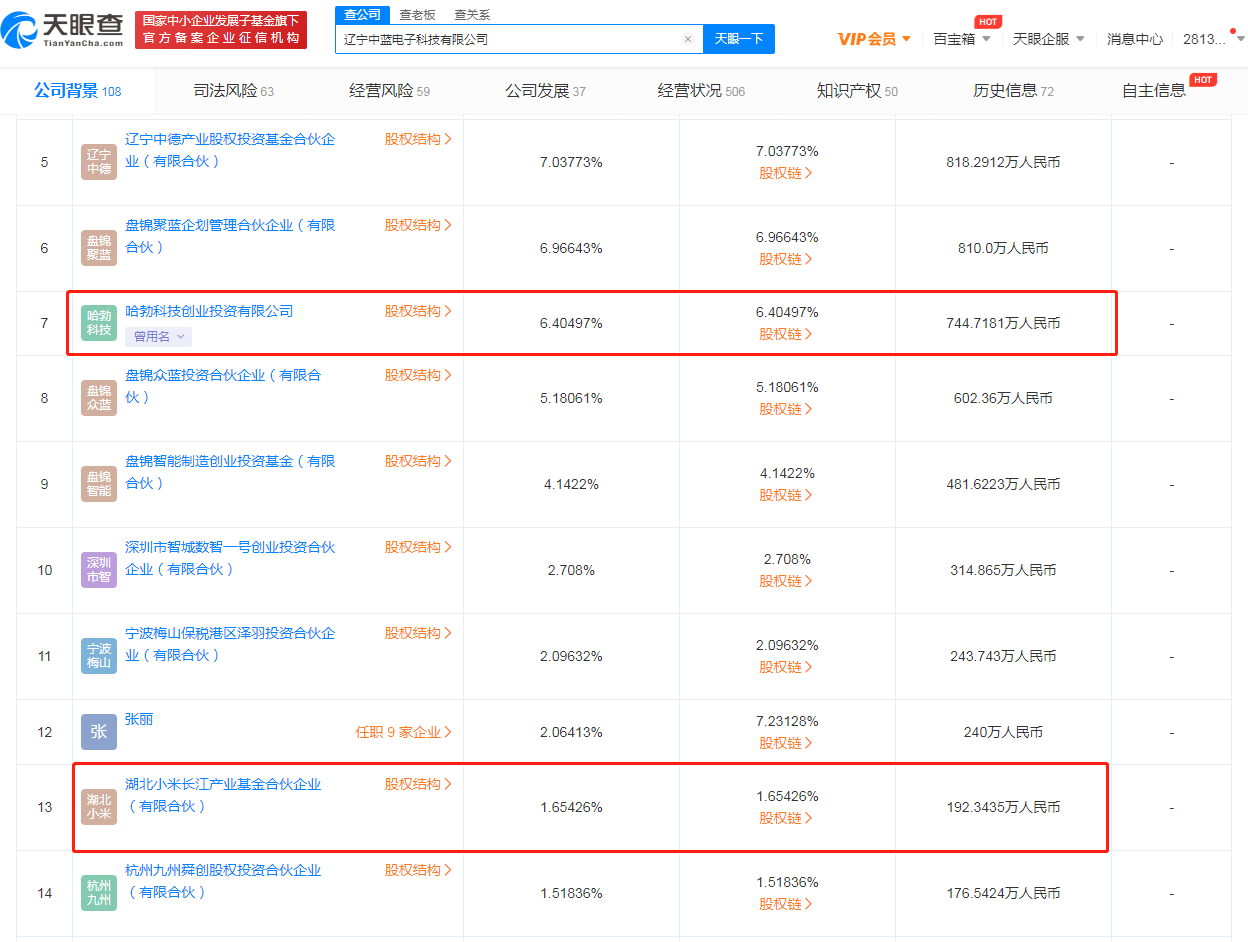
鞭牛士 12月10日消息,天眼查App显示,近日,辽宁中蓝电子科技有限公司发生工商变更,新增湖北小米长江产业基金合伙企业(有限合伙)为股东,同时公司注册资本增至约1.16亿元。
辽宁中蓝电子科技有限公司成立于2011年10月,法定代表人为王迪,经营范围含电子产品研发、生产与销售及相关技术咨询服务;精密模具设计制造。股东信息显示,该公司股东还包括哈勃科技创业投资有限公司等。
据官网介绍,中蓝电子主要研制手机摄像头两大核心部件—对焦马达和光学镜头,现已成为中国手机核心器件领军企业。



扫码下载app 最新资讯实时掌握
