薇娅夫妇合伙企业正式注销,原因为决议解散
鞭牛士 12月6日消息,企查查APP显示,12月3日,杭州谦壹企业管理合伙企业(有限合伙)发生工商变更,企业状态由存续变更为注销,原因为决议解散。
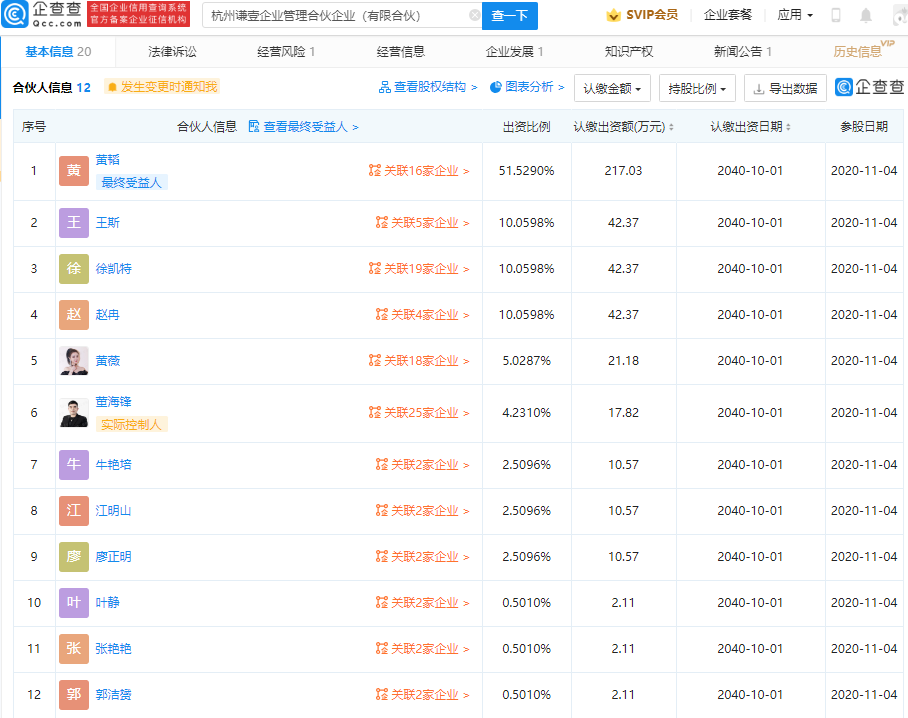
企查查信息显示,该公司成立于2020年,执行事务合伙人为董海锋,经营范围包含:企业管理咨询、企业管理,其合伙人包括黄薇(薇娅)、董海锋(薇娅丈夫)、黄韬(薇娅弟弟)等。


扫码下载app 最新资讯实时掌握
