腾讯申请注册“土豆立撕”“鹅厂特产”商标
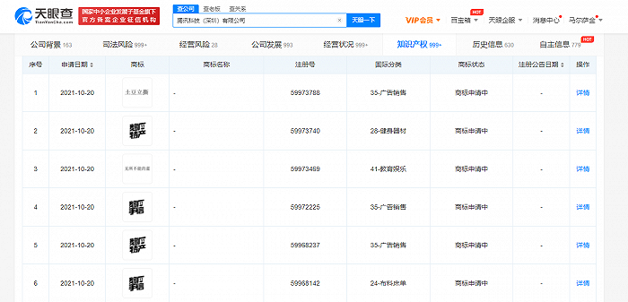
鞭牛士 10月26日消息,天眼查App显示,近日,腾讯科技(深圳)有限公司申请注册“土豆立撕”商标,国际分类为科学仪器、广告销售等,目前商标状态为申请中。
值得一提的是,同时,该公司申请了“鹅厂特产”“鹅厂手信”商标,国际分类包括健身器材、广告销售、布料床单等。

扫码下载app 最新资讯实时掌握
鞭牛士 10月26日消息,天眼查App显示,近日,腾讯科技(深圳)有限公司申请注册“土豆立撕”商标,国际分类为科学仪器、广告销售等,目前商标状态为申请中。
值得一提的是,同时,该公司申请了“鹅厂特产”“鹅厂手信”商标,国际分类包括健身器材、广告销售、布料床单等。

扫码下载app 最新资讯实时掌握