小米100亿成立汽车公司
鞭牛士 9月1日消息,9月1日,雷军宣布,小米汽车正式注册,公司名:小米汽车有限公司,注册资金100亿元。

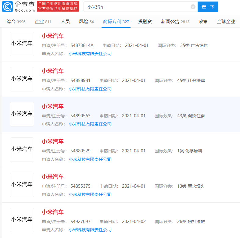
企查查APP显示,今年4月,小米科技有限责任公司申请注册多个“小米汽车”商标,国际分类涉8类手工器械、35类 广告销售等,此外,小米公司目前共有包括远程操控汽车的方法、装置及终端;智能汽车行驶控制方法及装置等多项汽车专利信息。
扫码下载app 最新资讯实时掌握
