字节跳动申请“西瓜音乐”等商标,国际分类均为通讯服务
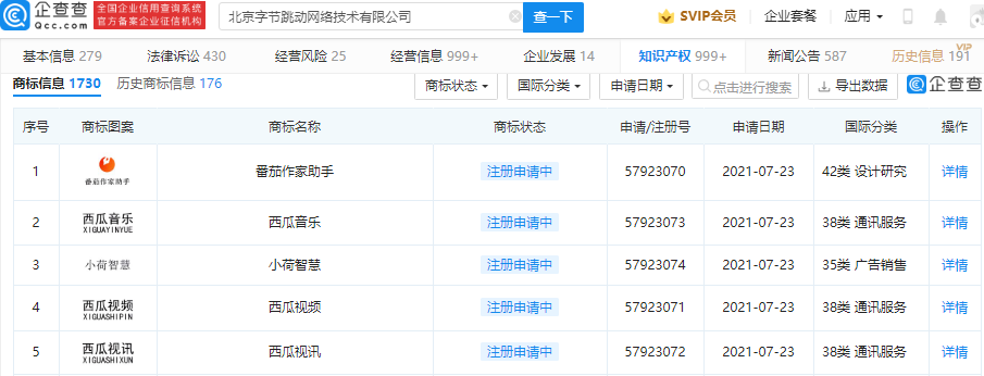
鞭牛士 8月2日消息,企查查APP显示,近日,北京字节跳动网络技术有限公司新增“西瓜音乐”商标申请信息,国际分类为通讯服务,目前商标状态为“注册申请中”。
企查查信息显示,同时申请的商标还包括“西瓜视频”、“西瓜视讯”,国际分类同为通讯服务。

扫码下载app 最新资讯实时掌握
鞭牛士 8月2日消息,企查查APP显示,近日,北京字节跳动网络技术有限公司新增“西瓜音乐”商标申请信息,国际分类为通讯服务,目前商标状态为“注册申请中”。
企查查信息显示,同时申请的商标还包括“西瓜视频”、“西瓜视讯”,国际分类同为通讯服务。

扫码下载app 最新资讯实时掌握