同程旅游注册“同程直播”等商标
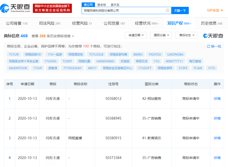
鞭牛士 10月20日消息,天眼查APP显示,近日,同程网络科技股份有限公司新增三条商标信息,商标名称为“同程直播”,申请日期均为2020年10月13日,申请注册号为50368012、50388945、50380915,国际分类为42-网站服务、35-广告销售、41-教育娱乐,商标状态显示为“商标申请中”。

另外,天眼查APP显示该公司还新增一条名称为“同程主播”的商标信息,申请日期为2020年10月13日,申请注册号为50373384,国际分类为35-广告销售,商标状态显示为“商标申请中”。
同程网络科技股份有限公司成立于2004年3月,注册资本约1.1亿人民币,法定代表人为吴志祥。天眼查APP股东信息显示,苏州龙悦天程创业投资集团有限公司持有该公司50%的股份,为该公司最大股东;此外,腾讯投资关联的包括深圳市利通产业投资基金有限公司等3个公司也在其股东行列。

扫码下载app 最新资讯实时掌握
