拼多多关联公司注册“菜小买”商标
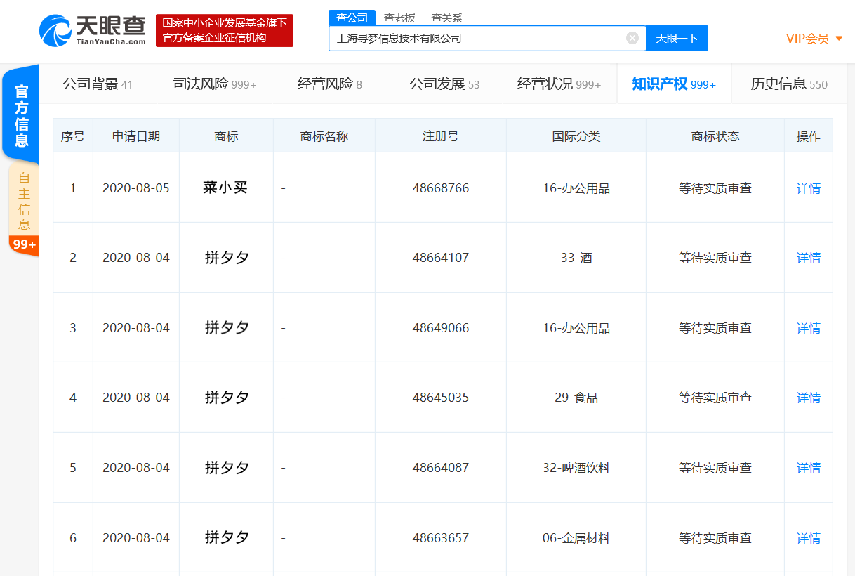
鞭牛士 8月25日消息,天眼查App显示,近日,上海寻梦信息技术有限公司新增一条商标信息 “菜小买”,国际分类为办公用品,申请日期为2020年8月,商标状态为等待实质审查。
该公司还曾于2020年7月申请多条“多多买菜”商标,国际分类涉及网站服务、运输贮藏、社会服务等。
上海寻梦信息技术有限公司由杭州埃米网络科技有限公司全资持股。

扫码下载app 最新资讯实时掌握
