北京搜狗科技发展有限公司注册多个AI医疗健康相关商标
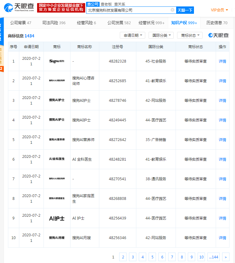
鞭牛士 8月25日消息,天眼查APP显示,近日,北京搜狗科技发展有限公司新增多条商标信息,包括搜狗AI护士、搜狗AI心理咨询师、搜狗AI营养师、搜狗AI家庭医生、搜狗AI药师、搜狗AI全科医生、搜狗AI健身教练、搜狗AI月嫂等。
上述商标分类涉及网站服务、通讯服务、医疗园艺、社会服务、教育娱乐等,申请日期在2020年7月,商标状态均显示为“等待实质审查”。

扫码下载app 最新资讯实时掌握
