阿里巴巴申请注册「阿里置业」商标
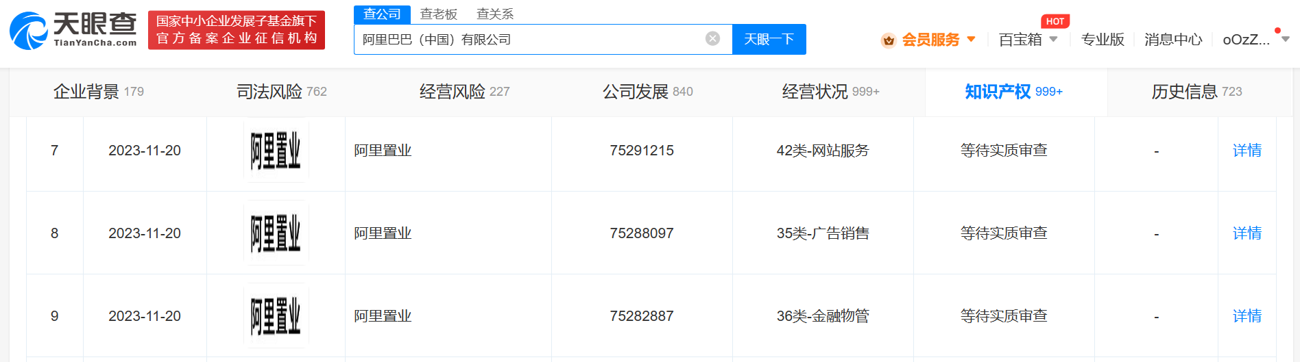
鞭牛士 12月6日消息,今日,天眼查App显示,11月20日,阿里巴巴(中国)有限公司申请注册多枚“阿里置业”商标,国际分类涉及金融物管、广告销售、网站服务,当前商标状态均为等待实质审查。

据媒体报道,不久前,蚂蚁集团以15.4亿元竞得原杭州青春宝地块,毗邻现企业总部。目前,蚂蚁集团拿下的三幅总部地块总金额已达到55.5亿元。
扫码下载app 最新资讯实时掌握
