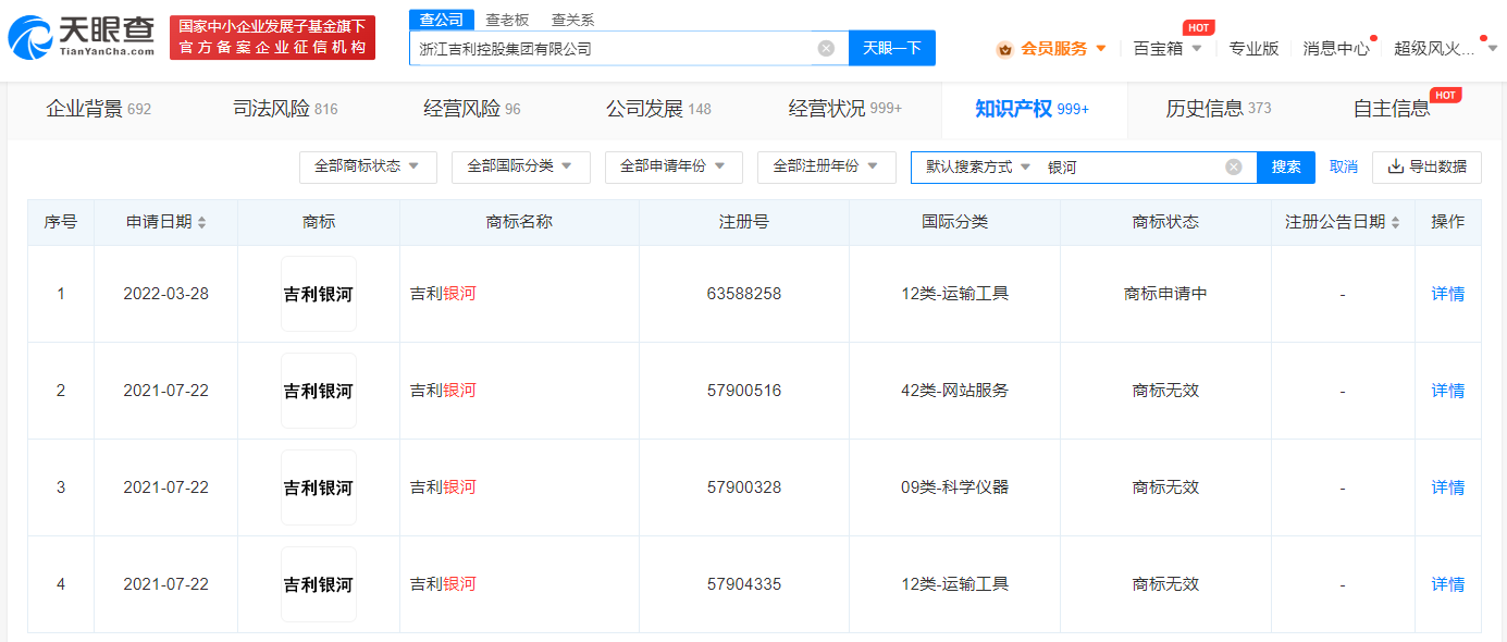
吉利已申请吉利银河商标,国际分类涉及运输工具等
鞭牛士 2月16日消息,据媒体报道,吉利旗下中高端新能源系列正式定名为“吉利银河”。同时,其还将于2月23日在杭州亚运会主场馆正式发布“吉利品牌新能源战略”,并迎来全新产品首发。
天眼查App显示,浙江吉利控股集团有限公司已申请注册多枚“吉利银河”商标,国际分类涉及运输工具、科学仪器、网站服务。其中3枚申请于2021年7月的商标已撤回,目前处于无效状态,2022年3月申请的运输工具类商标仍在申请中。


扫码下载app 最新资讯实时掌握
