韵达申请注册黄颜色的快递商标,当前商标状态均为申请中
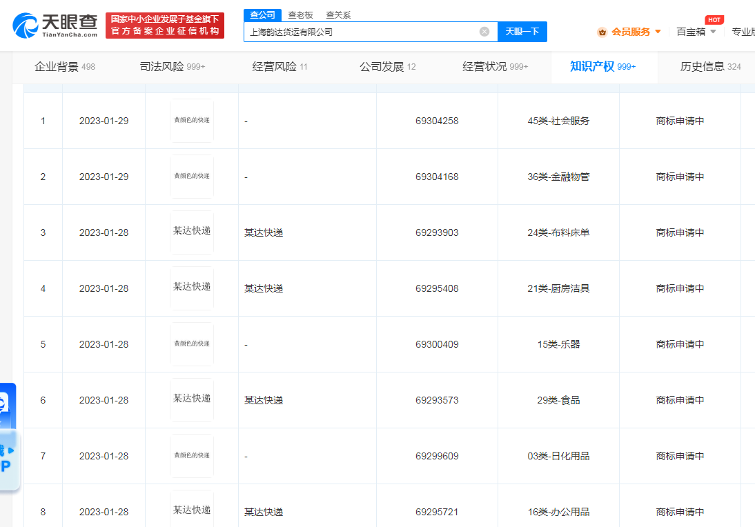
鞭牛士 2月2日消息,天眼查App显示,近日,上海韵达货运有限公司申请注册多个“黄颜色的快递”和“某达快递”商标,国际分类包括金融物管、日化用品等,当前商标状态均为申请中。
据悉,韵达快递招牌及车辆背景多为黄颜色,网友则常用“某达快递”来指代韵达快递。


扫码下载app 最新资讯实时掌握
鞭牛士 2月2日消息,天眼查App显示,近日,上海韵达货运有限公司申请注册多个“黄颜色的快递”和“某达快递”商标,国际分类包括金融物管、日化用品等,当前商标状态均为申请中。
据悉,韵达快递招牌及车辆背景多为黄颜色,网友则常用“某达快递”来指代韵达快递。


扫码下载app 最新资讯实时掌握