苹果申请注册M2芯片商标,当前状态为申请中
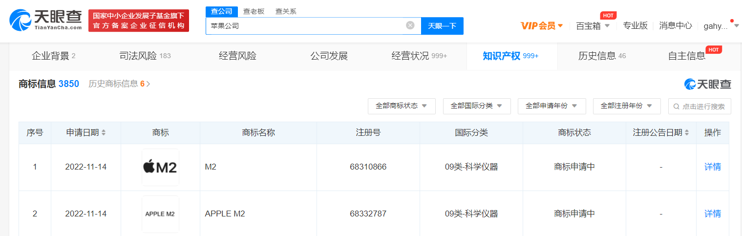
鞭牛士 11月24日消息,天眼查App显示,近日,苹果公司申请注册科学仪器类“M2”“APPLE M2”商标,当前商标状态均为申请中。
据媒体报道,今年6月,苹果在全球开发者大会上宣布推出全新的M2芯片。目前,苹果已推出多款搭载M2芯片的产品。


扫码下载app 最新资讯实时掌握
鞭牛士 11月24日消息,天眼查App显示,近日,苹果公司申请注册科学仪器类“M2”“APPLE M2”商标,当前商标状态均为申请中。
据媒体报道,今年6月,苹果在全球开发者大会上宣布推出全新的M2芯片。目前,苹果已推出多款搭载M2芯片的产品。


扫码下载app 最新资讯实时掌握