华为成功注册花瓣地图商标,国际分类涉及科学仪器
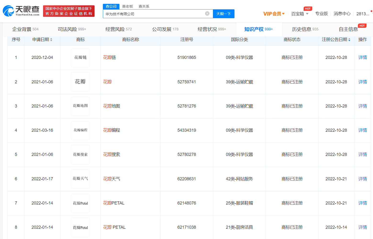
鞭牛士 11月2日消息,天眼查App显示,近日,华为技术有限公司申请的 “花瓣地图”“花瓣搜索”“花瓣编程”“花瓣链”等多个商标状态变更为已注册,这些商标国际分类涉及科学仪器、网站服务、运输贮藏等,申请日期多为2021年1月。



扫码下载app 最新资讯实时掌握
鞭牛士 11月2日消息,天眼查App显示,近日,华为技术有限公司申请的 “花瓣地图”“花瓣搜索”“花瓣编程”“花瓣链”等多个商标状态变更为已注册,这些商标国际分类涉及科学仪器、网站服务、运输贮藏等,申请日期多为2021年1月。



扫码下载app 最新资讯实时掌握