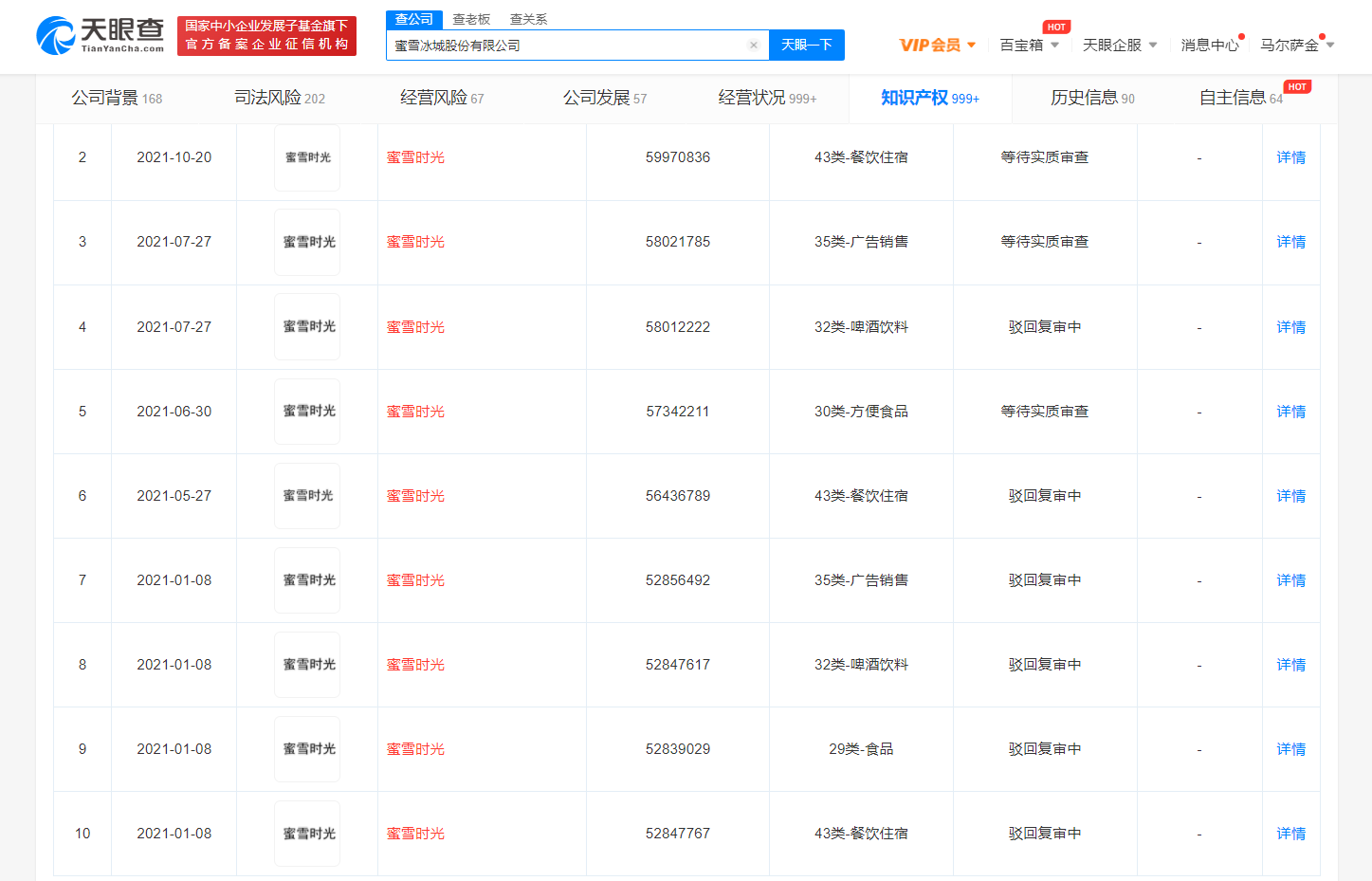
蜜雪冰城申请蜜雪时光商标被驳回,国际分类涉及啤酒饮料等
鞭牛士 12月20日消息,天眼查App显示,近日,蜜雪冰城股份有限公司申请注册的多个“蜜雪时光”商标状态变更为“驳回复审”“驳回通知发文”,国际分类包括啤酒饮料、餐饮住宿、方便食品等。
值得一提的是,此前,蜜雪冰城公司曾起诉密雪时光品牌恶意模仿,商标名称、店铺装修恶意“搭便车”等。



扫码下载app 最新资讯实时掌握
