郑渊洁将全力维权童话大王等商标
鞭牛士 12月16日消息,据红星新闻报道,12月15日,郑渊洁宣布童话大王将于明年1月停刊,将拿出全部精力去和第7197328号皮皮鲁商标、第8229932号童话大王商标、第5423972号舒克商标斗争维权。
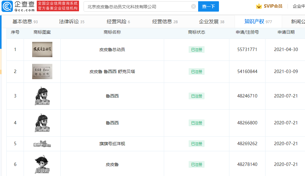
企查查APP显示,郑渊洁相关商标例如“皮皮鲁总动员”、“鲁西西”、“童话大王”等,已被北京皮皮鲁总动员文化科技有限公司注册成功,据悉该公司拥有郑渊洁作品的独家全版权,目前名下共有280项商标信息。企查查信息显示,北京皮皮鲁总动员文化科技有限公司大股东为广西腾讯创业投资有限公司,持股比例约28.64%,最终受益人为郑亚旗。1985年《童话大王》创刊,在长达36年的时间里,郑渊洁是这本杂志的唯一撰稿人,杂志总印数逾两亿册。



扫码下载app 最新资讯实时掌握
